이번 포스팅에서는 CMOS 이미지센서와 CCD이미지 센서를 전격 비교해보겠습니다.
이미지 센서는 빛을 전기적 신호로 바꿔주는 반도체이자, 피사체의 정보를 전기적인 영상신호로 변환해주는 촬상소자입니다.
이미지 센서의 구성요소는 마이크로 렌즈 color filter array, pixel array, 등이 있습니다.
이제 ccd와 cmos에 대해 자세히 알아보겠습니다.
1. CCD (Charge coupled device) 이미지 센서
CCD는 전하를 수집, 저장, 전송할 수 있는 PIXEL ARRAY로 구성되어 있으며, 금속 산화막 반도체 (MOS)와 같은 방식으로 디자인하기 때문에 CCD 센서와 지원 칩(마이크로 프로세서, 메모리 등)을 통합하기가 어렵습니다.
- 구조
CCD 센서는 각 픽셀에 조사되는 광량에 의한 전하량의 변화를 전기적 신호로 변환하는 구조를 가집니다.
따라서 실제 광량에 의해 전하가 축적되는 photo effective 영역 및 축전된 전하는 차례대로 전송하는 통로역할을 하는 shift register로 크게 구분됩니다.
각 셀이 어떠한 array로 배치되어 영상을 생성하느냐에 따라 area scan, line scan, TDL line scan 등으로 나뉘어집니다.
- 전송방법에 따른 분류
1) interline transfer 방식
대부분의 아날로그 ccd 카메라에서 사용하는 방식으로 각 셀에 축적된 데이터를 수평 및 수직 방향으로 옮겨 데이터를 전송하는 방식입니다. 이는 셀에 축적된 전기 신호가 vertical shift register를 통해 각 열별로 이동하여 horizontal shift register를 통해 행별로 출력되게 됩니다.
각각의 ccd 셀이 광전 변환 과정을 통하여 축적하고 있는 전기신호들을 외부로 이송하는데, 이러한 이송을 위해여 읽어내는 방식을 결정해야합니다.
이러한 interline형 ccd의 구조는 마찬가지로 photo effective 영역과 shift resigter로 크게 나뉩니다.
모든 ccd cell이 빛을 전기로 바꾸는 과정에 참여하는 것이 아니고, 신호의 전송을 담당하는 전송용 ccd cell 들이 관전 변환 ccd cell 사이에 위치하고 있습니다.

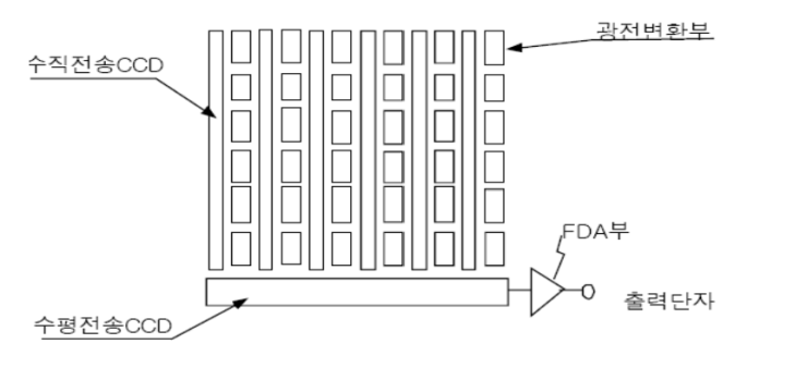
* 광전 변환부 : Photodiode에서 입사광을 전하로 변환
* 수직전송 ccd : 광전변환부의 전하를 받아들여 저장
* 수평전송 ccd 수평주사주파수 기간마다 수직 전송 ccd에서 열의 전하를 전송받음
* FDA부 : 신호 검출 증폭회로로 수평전송 CCD의 내용을 순차적으로 CCD 외부에 출력

2) Progressive scan (=fram transfer ccd)
Interlaced 방식은 기본적으로 odd/even 각 라인의 노출시각이 다르므로 고속 물체 촬영시 깨끗한 영상을 얻을 수 없다는 단점이 있습니다.
따라서 특히 고속 어플리케이션에 많이 사용되는 카메라가 progressive scan을 지원하는 카메라입니다.
이 방식은 필드단위가 아닌 프레임단위로 순차 노출하므로 라인간의 노출차가 거의 없습니다.
또한 프레임을 필드별로 분리하여 두개의 출력으로 나타내어 고속 출력을 얻을 수 있습니다.
* ccd 이미지 센서 작동 과정
*ccd 이미지 센서 단면

2. CMOS (Complementary mental oxide semiconductor) 이미지 센서
CMOS 이미지센서의 화소 구조를 살펴보면 pixel 하나를 구성하는 요소가 mosfet1개와 포토 다이오드 1개로 구성되므로 mosfet의 수에 따라 1-Tr, 3-Tr, 4-Tr 구조 및 1.75TR, 1.5-Tr 구조 등으로 구분되며 주로 4TR구조를 사용합니다.
cmos 이미지 센서는 픽셀 내에 증폭을 위한 엠프를 내장하고 있으므로 발생한 전기신호를 증폭해 꺼낼 수 있으므로 신호 전송 경로에서의 노이즈의 혼입을 최소한으로 억제할 수 있습니다.
또한 일반적인 반도체와 같은 구조를 취하기 때문에 노이즈 제거회로나 A/D변환장치 등의 회로를 센서 상에 탑재할 수 있습니다.

CMOS 이미지 센서의 동작과정은 다음과 같습니다.
- 빛에너지 중 가시광선 파장대를 실리콘 표면인 포토 다이오드에 집광
- 실리콘 표면은 빛에너지를 받으면 공유결합이 끊어져 전자와 정공 Pair 생성
- 생성된 전자와 정공 pair전위는 adc를 거쳐서 디지털 데이터로 변환
* CDS(correlated double sampling) : 픽셀에서 readout시에 발생하는 노이즈를 제거하기 위해서 reference value와 signal value를 각각 읽어 두 값의 차이로부터 순수한 신호 레벨을 찾아내는 방법을 말합니다. (reset noise와 DC offset 제거 목적)
* ADC : 아날로그 성분을 디지털 성분으로 변환해주는 장치
-구조
1) 1-Tr structure
픽셀하나를 구성하는 요소가 모스펫 1개, 포토다이어드 1개이므로 동일한 픽셀 사이즈에 대해서 2~4TR구조에 비해 수광부 면적을 크게 할 수 있다는 장점이 있습니다. 그러나 signal readout 시 노이즈 레벨이 크게 나타나며, 시그널 증폭용 엠프 및 저장용 카페시터가 bus line 끝단에 존재하므로 결과적으로 FPN(Fixed pattern noise)가 크게 나타납니다.
이러한 구조로는 photodiode type passive pixel 구조와 CMD(Charge modulation device) 가 있습니다.
1-TR 구조의 동작은 수광부에 빛이 입사하게 되는 이에 따라 EHP(Electron hole pair)가 생성되고, 이렇게 생성된 신호전하는
gate bias 에 따라 출력단으로 전달되는 방식으로되어 있습니다.
2) 3TR structure
1-TR 구조가 가지고 있는 노이즈를 개선하기 위해 개발한 구조로, 픽셀 내에 source follower를 삽입한 구조로써 APS(active pixel sensor)f라고 부르기도 합니다. 1pixel 내에 3개의 모스펫과 1개의 포토다이오드가 첨가되어 있으므로 fill factor가 상대적으로 낮아지며,
source follower 의 픽셀간 threshold voltage uniformity를 맞춰주는 것이 중요합니다.
3) 4TR structure
readout 노이즈의 억제를 위해 개발된 구조로 ccd의 출력단과 거의 흡사한 구조를 가지고 있으며, 4개의 TR과 1개의 포토다이오드로 구성이 되어있습니다. 이러한 구조의 가장 큰 단점은 dark current가 크다는 것인데 이를 극복하기 위해서 HAD(Holed accumulated device) 또는 PPD(PInned photo diode)구조를 적용합니다.
* CMOS 이미지 센서판의 내부 구조

3. CCD와 CMOS 이미지 센서 비교 분석



'비전 검사' 카테고리의 다른 글
| 06. 광학계 - 편광카메라 센서 구조 (0) | 2024.06.01 |
|---|---|
| 05. 광학계 - 렌즈 해상력(Lens resolution) (0) | 2024.06.01 |
| 04. 광학계 - 공간 분해능(Spatial Resolution) (0) | 2024.06.01 |
| 02. 광학계 - FOV(Field of vies) 계산 (0) | 2024.06.01 |
| 01. 광학계 - 라인스캔 카메라(Image Trigger Mode) (0) | 2024.06.01 |