CMOS 4

06. 차량 플랫폼 - SoC칩 메모리 계층 구조

1. 개요차량에서 처리하는 데이터가 많아지고 고속 통신을 요구하면서 차량 제어기에서 SoC 칩의 중요성이 커지고 있습니다.최근 대부분의 SoC 칩은 CMOS 기술을 기반으로 설계되고 있는데, SoC 칩 설계에서 널리 사용되고 있는 이유는 다음과 같습니다.첫째, 낮은 전력소비입니다. CMOS는 전류가 흐르지 않을 때 전력이 거의 소모되지 않아 대기상태에서 전력 소모를 최소화할 수 있습니다. 또한 CMOS 트랜지스터의 스위칭 활동 중에만 전력을 소모하므로, 효율적인 동적 전력 관리가 가능합니다.둘째 전력 관리 측면입니다. CMOS 기반 SoC 칩은 여러 방식의 슬립모드를 지원하여 각 상황에 맞는 최적의 전력 소모를 구현할 수 있습니다. 또한 전력 게이팅/클럭 게이팅 기술을 사용하여 각 블록의 전력 소모를 세..

차량 플랫폼 2024.06.29

07. 광학계 - 롤링 셔터와 글로벌 셔터의 비교

이번 포스팅에서는 오늘은 롤링셔터와 글로벌 리셋, 글로벌셔터의 차이에 대해 알아보겠습니다.카메라에는 ccd와 cmos와 같은 디지털 이미지 센서가 들어가는데, 이러한 센서의 중요한 기능은 셔터 유형입니다.일반적으로 ccd센서는 글로벌 셔터만, cmos 센서는 롤링셔터/글로벌셔터 둘 다 선택가능하지만 롤링셔터가 주를 이룹니다. (cmos 센서에 글로벌 셔터 방식을 구현하기 위해서는 각 픽셀마다 캐퍼시터 등이 추가되어야 해서 회로가 복잡해지고 비용 또한 증가)이러한 셔터는 카메라의 이미지센서가 이미지를 스캔하는 방식을 말하며 유형에는 글로벌 셔터와 롤링 셔터 두 가지가 있습니다. 1. 롤링 셔터 (rolling shutter) 롤링셔터는 모든 열이 동시에 노출이 시작되는 글로벌 셔터와는 달리, 순차적으로 노..

비전 검사 2024.06.01

06. 광학계 - 편광카메라 센서 구조

이번 포스팅에서는 편광카메라 센서 구조에 대해서 알아보겠습니다.크레비스사의 MC-A121P-67 카메라 모델을 보면Sensor size 1.1 inch에 pixel size 3.45um*3.45um, 해상도 4096*3000 인 것을 확인할 수 있습니다.센서에 대한 spec 각각이 어떤 의미를 갖는지 자세히 알아보겠습니다.    편광카메라 센서의 구조편광카메라는 포토다이오드(photodiode) 위에 편광기층(polarizer layer)이 통합되어있습니다.편광기 배열 층은 CMOS 칩 위에 배치되며 반사 방지 물질로 코팅되어 있습니다.편광기 배열은 각 픽셀에 배치된 4개의 다른 각도의 편광기(0도, 45도, 90도, 135도)로 구성되어 있습니다..4개의 픽셀이 하나의 블럭을 형성하며 이 블럭 내에서 ..

비전 검사 2024.06.01

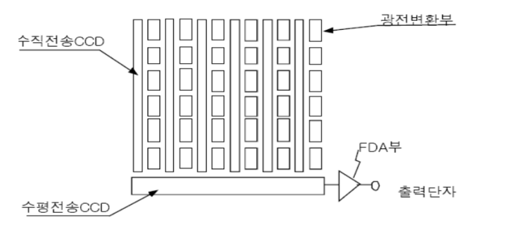
03. 광학계 - 이미지센서의 비교(CMOS/CCD)

이번 포스팅에서는 CMOS 이미지센서와 CCD이미지 센서를 전격 비교해보겠습니다.이미지 센서는 빛을 전기적 신호로 바꿔주는 반도체이자, 피사체의 정보를 전기적인 영상신호로 변환해주는 촬상소자입니다.이미지 센서의 구성요소는 마이크로 렌즈 color filter array, pixel array, 등이 있습니다.이제 ccd와 cmos에 대해 자세히 알아보겠습니다. 1. CCD (Charge coupled device) 이미지 센서CCD는 전하를 수집, 저장, 전송할 수 있는 PIXEL ARRAY로 구성되어 있으며, 금속 산화막 반도체 (MOS)와 같은 방식으로 디자인하기 때문에 CCD 센서와 지원 칩(마이크로 프로세서, 메모리 등)을 통합하기가 어렵습니다.  - 구조CCD 센서는 각 픽셀에 조사되는 광량에 ..

비전 검사 2024.06.01